常见结构的认识

常见结构的认识

收藏豆荚
剥了 7 次
年级:未设置
科目:其他
许老师
2025-11-10
15 颗豆豆
1. 单选题
30 秒
<p>用扳手的卡口钳住螺母&#xff0c;顺时针转动扳手&#xff0c;就可以拧紧螺母。在用扳手拧紧螺母的过程中&#xff0c;螺母主要&#xff08;  &#xff09;</p>

用扳手的卡口钳住螺母,顺时针转动扳手,就可以拧紧螺母。在用扳手拧紧螺母的过程中,螺母主要(  )

受扭转

受拉力

受弯曲

受剪切

2. 单选题
30 秒

我们用手拧矿泉水瓶盖,瓶盖主要受力形式有(  )

受扭转

受拉力

受弯曲

受压

3. 单选题
30 秒
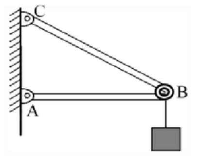
<p>如图所示的结构中&#xff0c;关于硬杆AB、BC受力形式分析正确的是&#xff08; &#xff09;</p>

如图所示的结构中,关于硬杆AB、BC受力形式分析正确的是( )

AB受压、BC受拉

AB受弯曲、BC受拉

AB受拉、BC受弯曲

AB受弯曲、BC受弯曲

4. 单选题
30 秒
<p>下图自行车结构&#xff0c;说法错误的是&#xff08;  &#xff09;</p>

下图自行车结构,说法错误的是(  )

车架是框架结构

车把和前叉整体是框架结构

车轮是实体结构

挡泥板是壳体结构

5. 单选题
30 秒

分析下列物体的结构类型,不属于壳体结构的是(  )

贝壳

飞机外壳

摩托车头盔

竹排

6. 单选题
30 秒

下列有关结构的说法,正确的是(  )

结构就是指力学角度的结构

结构是指事物的各个组成部分之间的有序搭配和排列

结构广泛存在于世界中,且都由人类设计与制造

从力学角度来看,结构是指可承受一切外力的架构形态

7. 单选题
45 秒

下列事物结构受自然界启发而设计的是(  )

口罩

指甲钳

缝衣针

锯子

8. 单选题
45 秒

框架结构的抗震性能较好,主要原因是(  )

框架结构能够支撑起空间,但是没有填充满空间

框架结构可以承受水平和竖直方向的荷载

搭建框架结构采用了特殊材料

框架结构质量比较轻

9. 单选题
45 秒

下列属于壳体结构的是(  )

羊角锤锤头

砧板

锅盖

调料架

10. 单选题
45 秒

地震发生时,第一时间老师会让学生迅速躲到课桌下面,防止被落物砸伤。如果需要进一步强度,下列措施合理的是(  )

采用高强度材料

提高桌腿高度

减少桌面厚度

减少桌腿支撑面

11. 单选题
45 秒
<p>阁是古代一种特有的建筑形式。“阁”最初指的是阁板。后来&#xff0c;阁成了与楼相对应的架空小楼房。多为四边形或多边形。古代有些女子居住的场所亦有“阁”之称&#xff0c;因而&#xff0c;女子出嫁有“出阁”的说法。下列说法正确的是&#xff08;  &#xff09;</p>

阁是古代一种特有的建筑形式。“阁”最初指的是阁板。后来,阁成了与楼相对应的架空小楼房。多为四边形或多边形。古代有些女子居住的场所亦有“阁”之称,因而,女子出嫁有“出阁”的说法。下列说法正确的是(  )

阁是实体结构

阁的稳定性比钢筋混泥土建筑高

阁主要的的连接方式是榫接

阁就是阁楼

12. 单选题
45 秒

我们平时使用的一次性纸杯,杯口边缘向外弯曲,从技术角度分析,这样做的目的主要是增加杯子的(  )。

耐热性

强度

稳定性

摩擦力

13. 单选题
45 秒
<p>如图一款立式鼠标&#xff0c;在产品生产出来后&#xff0c;下列技术测试不需要进行的是&#xff08;  &#xff09;。</p>

如图一款立式鼠标,在产品生产出来后,下列技术测试不需要进行的是(  )。

鼠标稳定性

鼠标材料的耐磨性

鼠标按键的抗压能力,即最高点击次数

鼠标材料的耐超高温性

14. 单选题
45 秒

“鸟巢”的设计灵感来源于自然界中的鸟巢,该设计构思方法属于(  )

联想法

仿生法

头脑风暴法

移植法

15. 单选题
30 秒
<p>飞檐是中国古代建筑屋顶结构的特色之一。屋顶的曲线、向上微翘的飞檐&#xff0c;使得原本异常沉重的屋顶&#xff0c;随着线条的曲折&#xff0c;显出向上挺举的飞动轻快之感。如图所示&#xff0c;飞檐结构的设计主要考虑的因素是&#xff08; &#xff09;<span data-tex=""> </span></p>

飞檐是中国古代建筑屋顶结构的特色之一。屋顶的曲线、向上微翘的飞檐,使得原本异常沉重的屋顶,随着线条的曲折,显出向上挺举的飞动轻快之感。如图所示,飞檐结构的设计主要考虑的因素是( ) 

提高建筑的稳定性 

提高建筑的强度 

节省成本 

扩大采光面、有利于排泄雨水 

剥豆豆
金牌
会员
无限剥豆豆游戏,更详尽的游戏报告,更多学员的支持
仅需0.6/日
你可能喜欢
联大一委破冰游戏
剥了 2 次
唯体十周年线下院校宣讲会-第二轮抽奖
剥了 2 次
唯体十周年线下院校宣讲会-首轮抽奖
剥了 2 次
LAUNCH & LEVEL UP 拼"DUCK"起 赢到底
剥了 9 次
The Ritz-Carlton Wuhan CTQ 2/13
剥了 3 次