12月18日

12月18日

收藏豆荚
剥了 7 次
年级:未设置
科目:物理
郭纬深
2025-12-12
20 颗豆豆
1. 单选题
45 秒
<p>对下列四幅图阐述正确的是</p>

对下列四幅图阐述正确的是

甲图是远视眼的成像原理

乙图是近视眼的成像原理,需要用凸透镜矫正

丙图中显微镜的目镜相当于放大镜

丁图中天文望远镜的物镜相当于投影仪的镜头

2. 单选题
45 秒
<p>如图所示&#xff0c;某日午后太阳发出的光线<i>  </i>照射到一块平面镜上&#xff0c;反射光线沿水平方向<i>  </i>射出&#xff0c;并在东侧的墙面形成一个光点<i> </i>&#xff0c;<i>  </i>与<i>  </i>的夹角为。以下说法正确的是<span data-tex=""> </span></p>

如图所示,某日午后太阳发出的光线 照射到一块平面镜上,反射光线沿水平方向 射出,并在东侧的墙面形成一个光点 的夹角为。以下说法正确的是

入射角为30° 

平面镜与水平方向的夹角为60° 

若入射光线不动,平面镜绕入射点逆时针转过10°,反射角将减小20° 

当太阳向西逐渐下落时,照射在墙壁上的光点 向下移动

3. 单选题
45 秒
<p>教室黑板用久后有一部分变得光滑。如图所示&#xff0c;当太阳光从窗户射入时&#xff0c;下列说法正确的是</p>

教室黑板用久后有一部分变得光滑。如图所示,当太阳光从窗户射入时,下列说法正确的是

太阳光照射到光滑处将发生漫反射

太阳光照在黑板上发生漫反射时不遵循光的反射定律

最有可能因反光而看不清光滑处字的是位置A

最有可能因反光而看不清光滑处字的是位置C

4. 单选题
45 秒
<p>一束入射光线与水平面成50°角&#xff0c;要使反射光线沿水平方向射出&#xff0c;则平面镜与水平面的夹角</p>

一束入射光线与水平面成50°角,要使反射光线沿水平方向射出,则平面镜与水平面的夹角

35°或55°

45°

25°或65°

50°或40°

5. 单选题
45 秒
<p>国内常用平面镜反射的原理模拟5米光路。检查视力的时候&#xff0c;视力表放在被测者头部的后上方&#xff0c;被测者识别对面墙上镜子里的像&#xff08;如图&#xff09;。下列有关说法中正确的个数是&#xff1a;<span data-tex=""> </span>①视力表在镜中的像与被测者相距2.3m&#xff1b;②与不用平面镜的方法相比&#xff0c;这样安排可以在较小的房间内检查视力&#xff1b;③为了看清平面镜中视力表的像&#xff0c;应用灯光将平面镜照亮</p>

国内常用平面镜反射的原理模拟5米光路。检查视力的时候,视力表放在被测者头部的后上方,被测者识别对面墙上镜子里的像(如图)。下列有关说法中正确的个数是: ①视力表在镜中的像与被测者相距2.3m;②与不用平面镜的方法相比,这样安排可以在较小的房间内检查视力;③为了看清平面镜中视力表的像,应用灯光将平面镜照亮

1

2

3

0

6. 单选题
45 秒
<p>小明从平面镜里看到镜子对面石英挂钟和电子钟所成的像如图所示&#xff0c;这时的时刻分别对应的是</p>

小明从平面镜里看到镜子对面石英挂钟和电子钟所成的像如图所示,这时的时刻分别对应的是

02:35和20:01

02:35和10:02

09:25和10:02

09:25和10:05

7. 单选题
45 秒
<p>如图所示&#xff0c;是小东同学站在旁边给平面镜前玩耍的小猫照的相片&#xff0c;下列关于其光学知识说法正确的是</p>

如图所示,是小东同学站在旁边给平面镜前玩耍的小猫照的相片,下列关于其光学知识说法正确的是

镜中小猫的像为实像

小猫靠近镜面,像变大

小猫也能从镜中看见照相的人

像到镜的距离大于小猫到镜距离

8. 单选题
45 秒
<p>一束单色光从空气斜射入水中的情景如图所示&#xff0c;下列说法中正确的是</p>

一束单色光从空气斜射入水中的情景如图所示,下列说法中正确的是

BO是入射光,OA是反射光

AO是入射光,OC是折射光

∠AOM是入射角,∠NOC是折射角

光若沿CO入射,将沿OA和OB射出

9. 单选题
45 秒

秋高气爽,某校组织初二的学生们去秋游,小华和小明准备去湖里捉鱼,走近岸边,一条小鱼正静卧湖底,下图光路图中符合他们看到鱼的过程的是

10. 单选题
45 秒

下列四幅光路图中错误的是

11. 单选题
45 秒
<p>如图&#xff0c;甲、乙两个凸透镜的焦距分别是3cm和5cm&#xff0c;下列说法正确的是</p>

如图,甲、乙两个凸透镜的焦距分别是3cm和5cm,下列说法正确的是

平行光经过凸透镜后一定会聚于焦点

甲透镜的焦距更短,其会聚能力较乙透镜弱

经过凸透镜的光不一定是会聚的

用一张不透明厚纸片挡住甲透镜的上半部分,透镜的焦距会变小

12. 单选题
45 秒
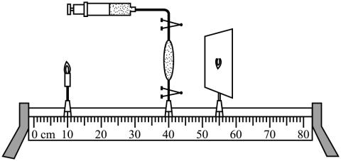
<p>某同学在“探究凸透镜成像的规律”实验时&#xff0c;将蜡烛、凸透镜、光屏调试到如图所示的位置&#xff1b;光屏中心正好出现清晰的像&#xff08;未画出&#xff09;。下列说法正确的是</p>

某同学在“探究凸透镜成像的规律”实验时,将蜡烛、凸透镜、光屏调试到如图所示的位置;光屏中心正好出现清晰的像(未画出)。下列说法正确的是

凸透镜焦距为20cm

光屏上的像是倒立、放大的

蜡烛燃烧变短,屏上像的位置会下降

保持凸透镜位置不变,对调蜡烛和光屏的位置,光屏上会出现倒立放大的像

13. 单选题
45 秒
<p>如图1所示&#xff0c;某同学用自制的水透镜来探究凸透镜成像规律&#xff0c;此时恰能在光屏上看到清晰的像。已知&#xff0c;当向水透镜里注水时&#xff0c;水透镜的焦距将变小&#xff0c;当从水透镜里抽水时&#xff0c;水透镜的焦距将变大&#xff0c;下列说法正确的是</p>

如图1所示,某同学用自制的水透镜来探究凸透镜成像规律,此时恰能在光屏上看到清晰的像。已知,当向水透镜里注水时,水透镜的焦距将变小,当从水透镜里抽水时,水透镜的焦距将变大,下列说法正确的是

如图1,光屏上看到的是倒立放大的实像

如图1,若向水凸透镜内注水,为使光屏上成像清晰,需要将光屏向右移动

如图1,将红墨水注入水透镜,待充分混合后,调节光屏位置,光屏上将出现黑色的“烛焰”

若图1中加上一副眼镜(如图2),从水透镜里抽适量水,光屏上再次看到清晰的像,则该眼镜可以矫正远视眼

14. 单选题
45 秒
<p>如图所示&#xff0c;某同学用自制的水透镜做凸透成像实验&#xff0c;此时在光屏上得到了清晰的像&#xff0c;关于下列现象的分析&#xff0c;正确的是</p>

如图所示,某同学用自制的水透镜做凸透成像实验,此时在光屏上得到了清晰的像,关于下列现象的分析,正确的是

此时在光屏上得到的是倒立放大的实像

若保持水透镜的位置和注水量不变,将蜡烛移到光具座35cm刻度线处,光屏向右移动适当距离才能在光屏上呈现清晰的烛焰像

若保持蜡烛和水透镜位置不变,用针筒在水透镜内抽出少量水后,光屏向右移动适当距离才能在光屏上呈现清晰的烛焰像

水透镜上飞来一只小飞蛾附着在其表面,在光屏上不会看到蜡烛完整的像

15. 单选题
45 秒
<p>如图所示是探究凸透镜成像规律的实验装置&#xff0c;下列实验操作和相关的分析中不合理的是</p>

如图所示是探究凸透镜成像规律的实验装置,下列实验操作和相关的分析中不合理的是

实验时,观察到光屏上像的位置偏高,则可向下调节凸透镜来使像成在光屏中央

该凸透镜的焦距 满足条件 <7.5cm

取下光屏,人眼在原光屏处的右侧通过透镜可以看到倒立放大的实像

保持蜡烛和光屏不动,只移动凸透镜,还可以在光屏上找到倒立缩小的实像

16. 单选题
45 秒
<p>小明同学用托盘天平测量一个圆柱体铁块的质量。天平平衡时&#xff0c;他用了50g、20g、5g的砝码各一个&#xff0c;游码位置如图所示。测量完毕后他才发现自己错误地将物体放在了右盘&#xff0c;而将砝码放在了左盘。则该圆柱体铁块的质量为</p>

小明同学用托盘天平测量一个圆柱体铁块的质量。天平平衡时,他用了50g、20g、5g的砝码各一个,游码位置如图所示。测量完毕后他才发现自己错误地将物体放在了右盘,而将砝码放在了左盘。则该圆柱体铁块的质量为

73.0g

77.0g

77.4g

72.6g

17. 单选题
45 秒

某同学需称量20g水,在调节天平平衡时,未将游码归零,仅调节平衡螺母使天平平衡。则测量结果应是

测量值大于真实值

测量值等于真实值

测量值小于真实值

条件不足,不好判断

18. 单选题
45 秒

下列有关托盘天平的使用和说明中,正确的是

为方便测量,可以用手拿取砝码

为方便测量,量筒可以直接放在天平托盘上测量质量

调节天平平衡时,指针偏向分度盘左侧,应该向右调节平衡螺母

测物体质量时,砝码生锈,测量结果会偏大

19. 单选题
45 秒

小明用调好的天平测一木块的质量,天平的最小砝码是5g,他记录了木块的质量是38.4g,整理仪器时,小明才突然发现木块和砝码的位置放反了,则该木块的实际质量应是

31.6g

33.2g

35.8

43.2g

20. 单选题
45 秒

小明同学,在调节天平平衡时,发现无论怎样都不能把天平调节平衡,他想了个办法,在左盘放入0.4g的沙子,才把天平调节平衡,然后左盘放入物体,右盘加减砝码,移动游码,最后读出物体的质量为54.0g,则该物体的实际质量是

54.4g

54.0g

53.6g

无法确定

剥豆豆
金牌
会员
无限剥豆豆游戏,更详尽的游戏报告,更多学员的支持
仅需0.6/日
你可能喜欢
生物期末闯关游戏(二)
剥了 2 次
小小闯关,拿下
剥了 2 次
华为产品知识与销售技巧测验
剥了 2 次
2026DPU珠海年会
剥了 2 次
Week 20 PEP vocabulary
剥了 2 次